|
||||||
| 種目 | 所在地 | 土地面積 建物面積 |
構造 間取 |
築年月 引渡時期 |
土地権利 | |
|---|---|---|---|---|---|---|
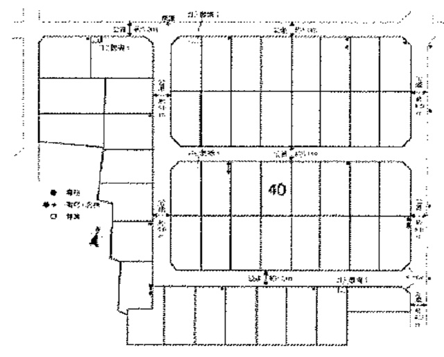
| 新築戸建 | 上尾市大字上 | 133m2 ( 40.23坪 ) 96.05m2 ( 29.05坪 ) |
木造 3SLDK |
2025/10 即時 |
所有権 | |
【上尾市:新築一戸建】上尾市上新築戸建40号棟
★仲介手数料無料
★桶川駅徒歩19分
★都市ガス・本下水
★上平北小学校,上平中学校


| 物件番号 | Bk10878 | |||||||||||||||||
|---|---|---|---|---|---|---|---|---|---|---|---|---|---|---|---|---|---|---|
| 物件名 | 上尾市上新築戸建全47棟40号棟 | 種別 | 売戸建 | |||||||||||||||
| 価格・価格履歴 | 4,480万円 |
|||||||||||||||||
| 住所 | 上尾市大字上 | |||||||||||||||||
| 交通 | 桶川駅 徒歩19分 | |||||||||||||||||
| 土地面積 | 133m2 | セットバック | ||||||||||||||||
| 地勢 | 平坦 | 私道面積 | ||||||||||||||||
| 地目 | 宅地 | 接道 | 北西 5m(幅員) 公道 | |||||||||||||||
| 建物構造 | 木造 | 建築年月 | 2025/10 | |||||||||||||||
| 延床面積 | 96.05m2 | 間取り | 3SLDK | |||||||||||||||
| 階建 | 2階 | 現況 | 完成済 | |||||||||||||||
| 引渡時期 | 即時 | 駐車場 | ||||||||||||||||
| 取引態様 | 一般媒介 | |||||||||||||||||
| 都市計画 | 市街化区域 | 国土法届出 | 不要 | |||||||||||||||
| 用途地域1 | 第一種低層住居専用地域 | 建ペイ率1 容積率1 |
50% 80% |
用途地域2 | 建ペイ率2 容積率2 |
|
小学区 | 上平北小学校 1540m | 中学区 | 上平中学校 2420m | ||||||||
| 建築確認番号 | ||||||||||||||||||
| 特色 | 防犯断熱玄関ドア、24時間換気、玄関収納下駄箱、低ホルモアルデヒド、1Fシャッター、カウンター対面キッチン、テレビモニター付インターフォン、公営水道、東京電力、手すり付階段、べた基礎、バリアフリー、シャンプードレッサー付洗面化粧台、全居室クロゼット付、エコジョーズ、床下収納、全居室ペアガラス、ユニットバス、浄水器一体型シャワー水栓、LED照明(玄関廊下キッチントイレ洗面所)、外壁サイディング、本下水、都市ガス、駅徒歩15分以内、整形地、敷地40坪以上、駅徒歩20分以内、駐車並列2台以上、駐車2台以上 | |||||||||||||||||
| 周辺環境 | ||||||||||||||||||
|
ローンを組むにあたり、月々の返済額をシミュレーションします。
|
||||||||||||||||||
![]()
上尾市大字上の新築戸建 物件詳細情報_Bk10878のお問い合わせはこちら
- 有限会社 メディアエステート

- TEL:0120-213-517
- FAX:048-774-0966
- >>関連の沿線・駅名から検索
- 物件一覧 -- JR高崎線・湘南新宿ライン・上野東京ライン 桶川駅 -- 間取一覧 -- 写真一覧
- >>カテゴリから検索
- 仲介手数料無料物件|太陽光発電システム搭載
・・・新着3日以内
・・・新着2週間以内
・・・価格変更1ヶ月以内
4,480万円














